Uponor Smart Aqua SK-schroefkoppeling Geberit Ø16-1/2″FT
Artikelnummer: 1058097
Beknopte specificaties:
- Merk: Uponor GmbH
- Categorie: Uponor meerlagenleidingsystemen
- Serie: Smart Aqua
- Type: Smart Aqua SK-schroefkoppeling Geberit 16-1/2″FT
- Artikelnummer: 1058097
- GTIN: 04021598119741
Uponor S-Press PLUS:
Betrouwbare systeemoplossingen:
Uponor is een van ‘s werelds toonaangevende fabrikanten van praktische en betrouwbare systeemoplossingen voor hygiënische drinkwatervoorziening, energie-efficiënte vloerverwarming en -koeling én betrouwbare lokale verwarmingsnetwerken. Het bedrijf heeft een eigen, hoogwaardige productiefaciliteit in Duitsland en is actief in verschillende onderdelen binnen de bouwsector, van residentiële en commerciële bouw tot industriële en civiele techniek. Uponor systemen zijn zó ontwikkeld dat ze optimaal op elkaar aansluiten en jou als installateur perfect ondersteunen. Nathan vertegenwoordigt Uponor in de Benelux.
Permanente verbindingen:
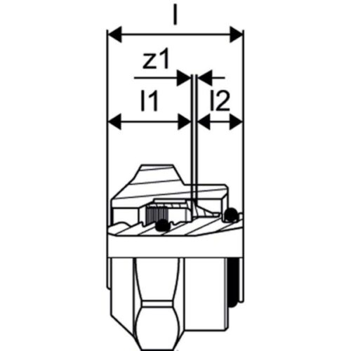
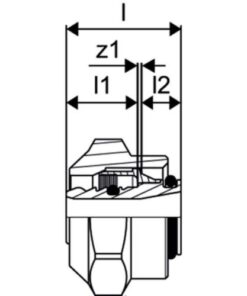
Met deze Uponor S-Press PLUS Messing Smart Aqua SK-schroefkoppeling voor meerlagenleidingen creëer je permanente leidingverbindingen voor professionele drinkwaterinstallaties en verwarmings-/koeltoepassingen. Ze hebben een hoge belastbaarheid en zijn bestand tegen sterke mechanische krachten. De robuuste koppelingbehuizing en de vast verbonden pershulzen van roestvrij staal vormen een stabiele eenheid die tegen een stootje kan. Bovendien zijn de koppelingen volledig te verwerken en combineren met de bestaande Uponor meerlagenleidingen en gereedschappen, zeer goed bestand tegen bouwplaatschemicaliën en bijzonder corrosiebestendig.
Maximale zekerheid:
Het gestroomlijnde design zorgt voor lage zeta-waarden en een optimale planning. Met dit gepatenteerde koppelingssysteem kun je in enkele seconden verbindingen maken met maximale zekerheid. Je controleert eenvoudig of een verbinding al geperst is of niet: ze zijn ommanteld met een folie die, afhankelijk van de afmeting, een kleurcodering heeft. Na het persen kun je deze eenvoudig verwijderen. Omdat elke minuut op de bouwplaats telt, zijn de koppelingen uitgerust met een QR-code op elke pershuls. Hiermee heb je direct toegang tot veel technische informatie en service.
Artikelnummer: 1058097













Beoordelingen
Er zijn nog geen beoordelingen.